将来のiPhoneはホームボタンにジョイスティック内蔵か、Appleが新たな特許を取得
昨年、iPhone 6を発売し更なる躍進を見せる多国籍企業Appleですが、将来の新型iPhoneに向けて新たな特許を取得していたことが明らかになりました。
モバイル・スマートフォン
iPhone
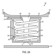
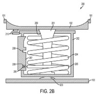
先週、米国特許商標庁から新たに承認された特許の名称は”マルチファンクションインプットデバイス”。Appleで製品デザイン部門の現役員を務めるColin Ely氏とFletcher Rothkopf氏が2013年7月9日に申請したもので、これまでホームボタンがあった箇所にジョイスティックを内蔵するというアイデアです。
特許に添付されたイメージ画像からは、ジョイスティックが一般的なゲームコントローラーに搭載された従来型のものではなく、バネを組み込んだ超小型のものであることが確認できます。ホームボタンを押し込むことで表面に飛び出し、使用時のジョイスティックの高さはわずか数ミリであるとのこと。
実装されればスマートフォンでのより快適なゲームプレイが実現できそうですが、技術面におけるデザイン性の追求や開発コストの観点から採用はまだ遠い先のことかもしれません。本格的なゲーミングを考慮したスマートフォンデザインの動向に注目が集まります。
《河合 律子》
関連リンク
この記事の写真
/

