海外メディアNintendolifeは、任天堂オブアメリカ(NOA)がニンテンドーDSなど携帯ゲーム機をスーパーマーケットで使う特許をUSPTO(米国特許商標庁)へ出願したと報じています。
![]() |
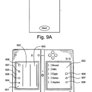
この特許は、スーパーマーケットの無線ネットワークと携帯ゲーム機を連動、商品検索用の端末とするというもの。「欲しい商品がどこにあるか」をRFID(超小型の無線タグで商品などを識別する仕組み)や商品データベースと連動して検索したり、価格を他のお店と比較したりといった機能が構想されています。
![]() |
行きつけのスーパーマーケットであっても、普段買わないような品が欲しい時など店内を探し回ることは結構ありますし、価格の比較は特に主婦層に喜ばれそう。
現時点でこの特許が現実化するかどうかは不明ですが、携帯ゲーム機を生活の中に組み込む大変興味深いアイデアと言えるでしょう。



