光を放つアクセサリ「Wiiライト」を任天堂が開発―特許から明らかに

「Wiiバイタリティセンサー」ではリラックスをテーマにしたゲームも開発していると伝えられた任天堂ですが、光を放つアクセサリ「Wiiライト」(Wii Light)というアクセサリも開発したようです。

任天堂 Wii
光を放つアクセサリ「Wiiライト」を任天堂が開発―特許から明らかに
光を放つアクセサリ「Wiiライト」を任天堂が開発―特許から明らかに 全 4 枚 拡大写真
「Wiiバイタリティセンサー」ではリラックスをテーマにしたゲームも開発していると伝えられた任天堂ですが、光を放つアクセサリ「Wiiライト」(Wii Light)というアクセサリも開発したようです。

テレビの上部に設置

256色を生成


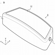
「Wiiライト」はテレビの上部に置くようなイメージで、赤・青・緑のLEDライトが埋めこまれていて、256色を作り出すことができます。

特許によれば、色を変えるだけでなく、点滅などの光を放つパターンも複数が可能になっています。ゲームの展開に合わせてパターンを変えたり、色を変えたりすることができそうです。

冒頭のリラックスをテーマにしたゲームや、音楽ゲームなど考えようによって様々な活用方法がありそうですね。

《土本学》

この記事の写真

/
【注目の記事】[PR]

特集

関連ニュース