任天堂、Wii UタッチパッドコントローラーをWiiリモコンに装着する特許を取得
任天堂がWii UのタッチパッドコントローラーをWiiリモコンに装着できるアクセサリーの特許を取得していたことが明らかになりました。
任天堂
Wii U
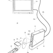
Wiiの後継機であるWii Uの特徴は、液晶タッチパッドコントローラーです。任天堂はこのWii Uコントローラーに、従来のWiiリモコンを装着可能なアクセサリーの発売を考えているようです。
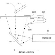
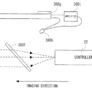
機能としては、Wiiリモコンに装着されたタッチパッドに触れると、赤外線LEDが点灯してミラーに反射、コントローラーの位置データを正しく取得するといった物のようです。またタッチパッドに触れていない時には、普通のWiiリモコンとして使用できます。
任天堂はこのアクセサリーを用い、ゲームの中でタッチパッドを、ドローイングパッドやマウスポインターのように使用する計画があるようです。
《菜種》
関連リンク
この記事の写真
/
