
ソニー・インタラクティブエンターテインメントが、「折りたたみ式スティックを搭載したテレビゲームコントローラー」の特許を申請したことが明らかになりました。
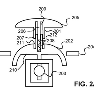
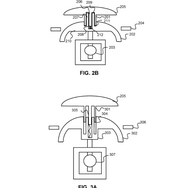
今回の特許に「折りたたみ式スティック」が開発された背景として、従来のスティックは「コントローラーから突き出ており、衣服などに引っかかり破損しやすい」ことや「使い勝手を求めると、手の大きさと同じくらいにせざるを得ないため、持ち運びにくくなってしまう」ことが挙げられています。

また、本コントローラーには「折りたたみスティック」以外にも「スティックと本体が干渉しにくく、スティックの可動範囲が大きい」ことに加え、「LEDの光で他のコントローラーと見分けられる機能」や、コントローラーの光やマイクを通して「ユーザーの動きを感知する機能」も搭載されているとのことです。
ソニーは過去に様々なコントローラーに関する特許を出願しており、今回申請された「折りたたみ式スティック搭載コントローラー」が実際に採用されるかは現時点では不明です。新機種などに搭載されるのであれば、ゲームプレイ自体への影響は少ない可能性があるものの、携帯性と耐久性が改善されるかもしれません。


