自分で撮影した写真がゲームのステージに ― ナムコバンダイが特許を出願 6枚目の写真・画像

ゲームビジネス 開発

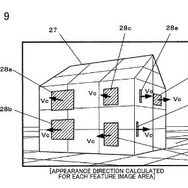
自分で撮影した写真がゲームのステージに-ナムコバンダイが特許を出願
自分で撮影した写真がゲームのステージに-ナムコバンダイが特許を出願

この記事の写真

/

関連ニュース

アクセスランキング

  1. ユニクロから『ポケモン』30周年UTコレクション登場!初代ピカチュウ、御三家、イーブイらの水彩アートをお洒落にデザイン

    ユニクロから『ポケモン』30周年UTコレクション登場!初代ピカチュウ、御三家、イーブイらの水彩アートをお洒落にデザイン

  2. 「ポケモン」日常使いできるグッズが、アベイルにて1月1日より順次発売!落ち着いたカラーのバッグやカラフルで可愛い雑貨などラインナップ

    「ポケモン」日常使いできるグッズが、アベイルにて1月1日より順次発売!落ち着いたカラーのバッグやカラフルで可愛い雑貨などラインナップ

  3. 「コメダ珈琲店」新作一番くじの全ラインナップ公開!コメダブレンドの加湿器、シロノワールのラグマットなど盛りだくさん

    「コメダ珈琲店」新作一番くじの全ラインナップ公開!コメダブレンドの加湿器、シロノワールのラグマットなど盛りだくさん

  4. 一番くじ「くまのプーさん」“冬の日”テーマのグッズに癒される…!風船につかまったプーさんの壁掛け時計など、全ラインナップ公開

    一番くじ「くまのプーさん」“冬の日”テーマのグッズに癒される…!風船につかまったプーさんの壁掛け時計など、全ラインナップ公開

  5. 「PUPPET SUNSUN」新作一番くじ全ラインナップ公開!スンスンが大好きなパンをテーマに、オリジナル撮りおろしをたっぷり使用

    「PUPPET SUNSUN」新作一番くじ全ラインナップ公開!スンスンが大好きなパンをテーマに、オリジナル撮りおろしをたっぷり使用

ランキングをもっと見る